IMAGINART - AUDIOVISUALES - SOPORTES PARA PROYECTORES - CHIEF


Soporte universal para proyectores

Chief


Soporte universal RSA para proyectores :

Los soportes Chief son reconocidos por sus ajustes de balanceo, inclinación y oscilación, cuya precisión, seguridad e independencia entre sí permiten una instalación rápida y sencilla.

 

>> Ver soportes para videoproyectores - Catálogo 2009

>> Ver sistemas antirrobo - Catálogo 2009


Características soporte RSA:

  • 1 Formato más pequeño
    El diseño compacto es 1 / 3 más pequeño que el RPA , e incluye las mismas características.
  • 2 Movimiento independiente, inclinación y orientación.
    Para una instalación rápida y precisa del proyector.
  • 3 Instalación y desisntalación rápida.
  • 4 Todos los puntos de seguridad.
    Exclusivo hardware de bloqueo de acero en todos los puntos de conexión para proteger contra robos.
  • 5 Múltiples opciones de instalación.
    Las opciones de montaje incluyen: montaje empotrado en techo.

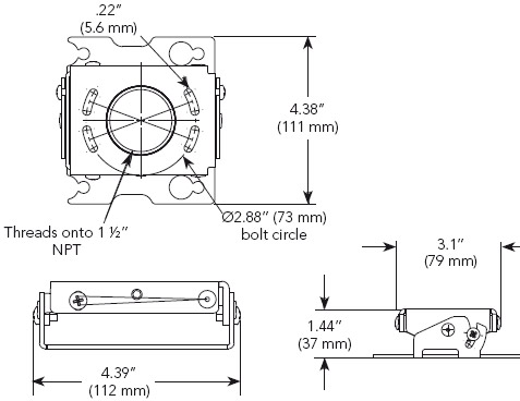
Especificaciones soporte RSA:


Balanceo
Inclinación
Oscilación
Dimensiones
Color
Peso
±3°
±20°
360º
37 x 111 x 112 mm
Negro, plata y blanco
11.3 kg

Dibujo técnico


Accesorios recomendados:

CMS columna extensora
PG2A - Caja de seguridad
   
>> Ver más accesorios opcionales   


 Más soportes:
Chief
Vantage Point
Abtus

imaginArt
c/ Pujades 273-275 - 08005 - Barcelona
Tel. 93 292 0770 - Fax: 93 217 7651- E-mail: imaginart@imaginart.es